Analog Devices Inc. AD3530/AD3530R 8-Ch, 16-Bit DACs

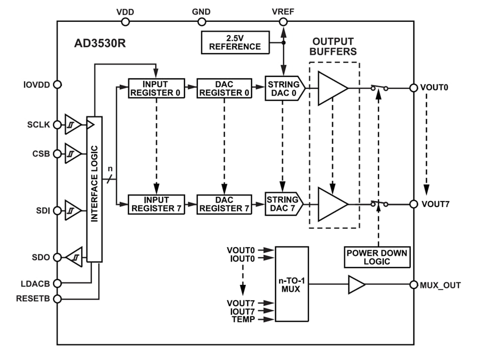
Analog Devices AD3530/AD3530R 8-Ch, 16-Bit Digital-to-Analog Converters (DACs) feature software-programmable gain controls that result in full-scale output spans of 2.5V or 5V for reference voltages of 2.5V. The devices operate from single, 2.7V to 5.5V supply ranges and are certified monotonic by design. The AD3530R also provides a 2.5V, 5ppm/°C internal reference that is disabled by default.

The ADI AD3530/AD3530R DACs include integrated multiplexers that enable monitoring of output voltages, currents, and internal die temperature. The devices combine power-on reset (POR) circuits that confirm the DACs output power up to and present at 32kΩ to ground until a valid write is executed. The DACs also incorporate power-down modes that decrease the current consumption down to 670μA, typical.

The serial peripheral interface (SPI) and MICROWIRE®-compatible, 4-wire serial interface functions on logic levels as low as 1.08V up to 1.98V and clock rates up to 50MHz.

The AD3530/AD3530R are housed in 2.1mm × 2.2mm, 25-ball WLCSP packages.

Features

  • 16-bit resolution, ±3 LSB16 INL, ±1 LSB16 DNL
  • TUE ±0.22% of FSR maximum
  • Offset error of ±1.6mV maximum
  • Gain error of ±0.26% of FSR maximum
  • Guaranteed sourcing current of 50mA
  • Ultra-low headroom: 25mV at 20mA load
  • 2.5V internal voltage reference, 5ppm/°C, typical
  • 62nV/√Hz noise spectral density (external reference)
  • 115nV/√Hz noise spectral density (internal reference)
  • Output voltage, current, and die temperature monitors
  • 50MHz SPI write and read
  • 2.7V to 5.5V power supply range
  • 1.2V or 1.8V compatible digital interface
  • Operating temperature range of -40°C to +125°C
  • 2.1mm x 2.2mm, 25-ball WLCSP small package

Applications

  • Optical transceivers
  • Test and measurement
  • Industrial automation
  • Data acquisition systems

FUNCTIONAL BLOCK DIAGRAM

Block Diagram - Analog Devices Inc. AD3530/AD3530R 8-Ch, 16-Bit DACs
Publicado: 2025-03-14 | Actualizado: 2025-03-18