Analog Devices Inc. ADAQ23876 16-Bit Data Acquisition Solution
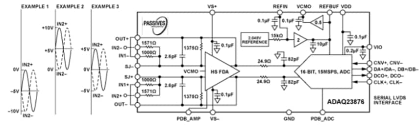
Analog Devices ADAQ23876 16-Bit Data Acquisition Solution is a precision, high-speed, and μModule® that reduces the development cycle of precision measurement systems. Using System-in-Package (SIP) technology, the ADAQ23876 reduces end system component count by combining common signal processing and conditioning blocks in a single device. The ADAQ23876 also incorporates critical passive components with superior matching and drift characteristics. This data acquisition ADCs/DACs feature a serial Low Voltage Differential Signaling (LVDS) digital interface with one-lane or two-lane output modes. The ADAQ23876 operates from -40°C to 85°C temperature range. Typical applications include automatic test equipment, data acquisition, Hardware in the Loop (HiL), power analyzers, and nondestructive tests (acoustic emissions).Features
- Integrated fully differential ADC driver with signal scaling
- Wide input common-mode voltage range
- High common-mode rejection
- Single-ended to differential conversion
- Pin selectable input range with over range
- Input ranges with 4.096V REFBUF: ±10V, ±5V, ±4.096V, ±2.5V, and ±1.5V
- Gain/attenuation options: 0.37, 0.73, 0.87, 1.38, and 2.2
- Critical passive components
- 0.005% precision matched resistor array for FDA
- 9mm x 9mm, 0.8mm pitch, 100-ball CSP_BGA package
- 2.5x footprint reduction vs. discrete solution
- Low power, dynamic power scaling, and power-down mode
- 143mW typical @15MSPS
- Throughput: 15MSPS, no pipeline delay
- INL error: ±7.5ppm typical, ±15ppm maximum
- (Gain = 0.73, gain = 0.87, gain = 1.38, and gain = 2.25)
- SINAD: 90dB typical @1kHz (gain = 0.37 and gain = 0.73)
- THD: -121dB @1kHz, -112dB @100kHz (gain = 0.73)
- Gain error: ±0.005%FS typical
- Gain error drift: ±0.11ppm/°C typical
- On-board reference buffer with VCMO generation
- Serial LVDS interface
- -40°C to 85°C wide operating temperature range
Applications
- Automatic test equipment
- Data acquisition
- Hardware in the Loop (HiL)
- Power analyzers
- Nondestructive test (acoustic emissions)
- Mass spectrometry
- Traveling wave fault location
- Medical imaging and instruments
Block Diagram
Publicado: 2022-04-21
| Actualizado: 2025-02-21
