Analog Devices Inc. MAX22194 Quad Industrial Sink/Source Digital Input
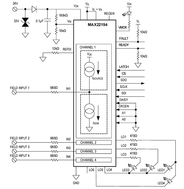
Analog Devices Inc. MAX22194 Quad Industrial Sink/Source Digital Input translates four industrial 24V or TTL-level inputs to logic-level outputs. The device has a serial interface that allows configuration and reading of serialized data through SPI. The input channels are individually configurable as sinking (p-type) or sourcing (n-type) inputs. Current limiters on each digital input minimize power dissipation while ensuring compliance with the IEC 61131-2 standard. The inputs are individually configurable for Type 1/3, Type 2, TTL, or HTL (high-impedance 24V levels) with a single current-setting resistor. The current sinks or sources can be individually disabled. Every input channel features a programmable glitch/debounce filter. The Analog Devices MAX22194 can be powered from a field supply range from 8V up to 36V for sink/source operation and has an integrated 5V linear regulator that can provide up to 20mA of load current.Features
- Software configurable
- 4x inputs individually configurable as sink or source
- Type 1/3, Type 2, TTL, and Hi-Z (HTL) modes
- Wide 0.5mA to 6.75mA resistor-settable accurate input current range
- Programmable glitch filters
- Extensive diagnostics (supply voltage monitoring, temperature alarms, PCB fault alarms, thermal shutdown)
- Addressable or daisy-chain SPI to reduce isolation channels
- Low power dissipation
- Operates from 8V to 36V field supply
- Low 2mA (maximum) supply current
- Robust solution
- IEC 61000-4-2 ESD airgap ±15kV and contact ±8kV with 680Ω minimum pulse resistor at field inputs
- IEC 61000-4-5 surge ±1.2kV/42Ω with 680Ω minimum pulse resistor at field inputs
- CRC error detection on SPI
- -40°C to +125°C operating temperature range
- Compact solution
- Integrated 5V, 20mA linear regulator
- 2.5V to 5.5V logic interface
- LED driver matrix or GPO outputs
- 5mm x 5mm 32-pin TQFN package
Applications
- Programmable logic controllers
- Factory automation
- Process control
Simplified Application Diagram
Functional Block Diagram
Publicado: 2024-09-10
| Actualizado: 2025-01-29
