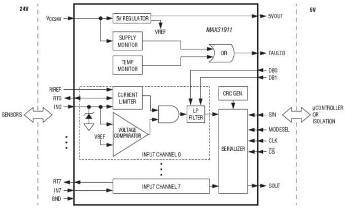
Analog Devices / Maxim Integrated MAX31911 Interface Translator/Serializers

Analog Devices Inc. MAX31911 Interface Translator/Serializers are an industrial interface serializer that translates, conditions, and serializes the 24V digital output of sensors and switches. These devices are used in industrial, process, and building automation to 5V CMOS-compatible signals required by microcontrollers. These provide the front-end interface circuit of a programmable logic controller (PLC) digital input module. The ADI MAX31911 features integrated current limiting, low-pass filtering, and channel serialization. Input current limiting allows a significant reduction in power consumed from the field voltage supply as compared to traditional discrete resistor-divider implementations. The device serializer is stackable so that any number of input channels can be serialized and output through only one SPI-compatible port. This feature reduces the number of optocouplers needed to only three, regardless of the number of input channels.

Features

  • Very low power and heat dissipation
    • Low quiescent current (1.4mA typ.)
    • Highly accurate and stable input current limiters, adjustable from 0.5mA to 6mA
  • High integration reduces BOM count, board size, and system cost
    • Eight high-voltage input channels (36V max.)
    • On-chip 8-1 serialization with SPI interface
    • On-chip 5V regulator
    • On-chip over temperature indicator
    • On-chip field supply voltage monitor
    • Integrated debounce filters, selectable from 0 to 3ms
  • Robust features and performance for industrial environments
    • Multibit CRC code generation and transmission for error detection and more reliable data transmission
    • High ESD immunity on all field input pins
  • Accepts industry standard input types
    • Configurable for IEC 61131-2 input types 1, 2, and 3
  • Flexible power supply capability enables usage in 5V, 12V, 24V, and higher voltage systems
    • Wide operating field supply range of 7V to 36V
    • Can be powered from the logic-side using a 5V supply

Applications

  • Building automation
  • Digital input modules for PLCs
  • Industrial automation
  • Motor control
  • Process automation

Block Diagram

Block Diagram - Analog Devices / Maxim Integrated MAX31911 Interface Translator/Serializers
Publicado: 2015-05-01 | Actualizado: 2023-04-12