Microchip Technology PIC32MX470 32-Bit Microcontrollers
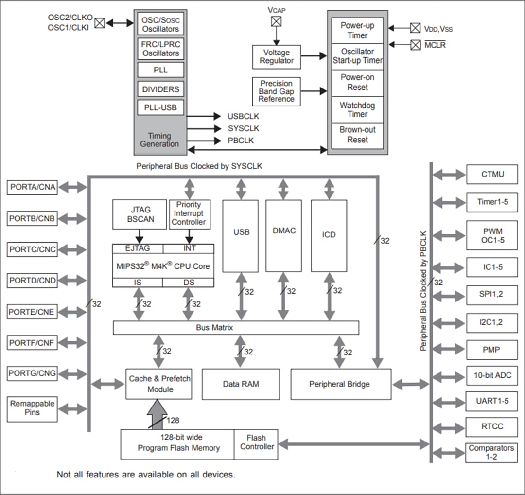
Microchip Technology PIC32MX470 32-Bit Microcontrollers (MCUs) offer a rich peripheral set for a wide range of embedded designs that require complex code and high feature integration. PIC32MX470 MCUs deliver up to 120MHz/150DMIPS and provide 512/128K Flash/RAM memory.The PIC32MX470 family boasts a rich set of integrated peripherals including two SPI/I2S interfaces for audio codecs, mTouch® capacitive touch-sensing, an 8-bit Parallel Master Port (PMP) for graphics or external memory, an onboard 28 channel, 1Msps Analog-to-Digital Converter (ADC), as well as full-speed USB 2.0 Device/Host/OTG. These devices are coupled with software and tools support to launch products in connectivity, graphics, Bluetooth®enabled digital audio, and general-purpose embedded control.
The Microchip Technology PIC32MX470 32-Bit MCUs are offered in QFN, TQFP, and VTLA packages for design flexibility.
Features
- Key features
- 120MHz/150DMIPS, MIPS32® M4K® core
- USB 2.0-compliant full-speed OTG controller
- Two I2S/SPI modules for Codec and serial communications
- Peripheral Pin Select (PPS) functionality
- Parallel Master Port (PMP) for graphics interfaces
- Charge Time Measurement Unit (CTMU)
- Microcontroller Features
- 512KB Flash memory (plus an additional 12KB of Boot Flash)
- 128KB SRAM memory
- MIPS16e® mode for up to 40% smaller code size
- Pin-compatible with most Microchip 16-bit devices
- Low-power management modes (Idle and Sleep)
- Peripheral Features
- Peripheral Pin Select (PPS) functionality
- Up to 4 channels of hardware DMA with automatic data size detection
- Five UARTs and two I2C modules
- Hardware Real-Time Clock and Calendar (RTCC)
- Five 16-bit timers/counters (two 16-bit pairs combine to create two 32-bit timers)
- Five capture inputs and five compare/PWM outputs
- Audio/Graphics/Touch HMI Features
- External graphics interface with up to 34 PMP pins
- Audio data communication: I2S, LJ, RJ, USB
- Audio data control interface: SPI and I2C
- Audio data master clock
- Generation of fractional clock frequencies
- Can be synchronized with USB clock
- Can be tuned in run-time
- Charge Time Measurement Unit (CTMU)
- Supports mTouch capacitive touch sensing
- Provides high-resolution time measurement (1ns)
- On-chip temperature measurement capability
- Advanced analog features
- ADC module
- 10-bit 1Msps rate with one Sample and Hold (S&H)
- Up to 28 analog inputs
- Can operate during sleep mode
- Comparators
- Two dual-input comparator modules
- Programmable references with 32 voltage points
- Debugger development support
- In-circuit and in-application programming
- 4-wire MIPS® Enhanced JTAG interface
- Unlimited program and six complex data breakpoints
- IEEE 1149.2-compatible (JTAG) boundary scan
- Physical Specifications
- Temperature range: -40°C to +105°C
- Operating voltage range: 2.3V to 3.6V
- Package Options
- QFN-64 (9.0mm x 9.0mm x 0.9mm)
- TQFP-64 (10.0mm x 10.0mm x 1.0mm)
- TQFP-100 (12.0mm x 12.0mm x 1.0mm)
- VTLA-124 (9.0mm x 9.0mm x 0.9mm)
- RoHS compliant
Block Diagram
Publicado: 2017-01-25
| Actualizado: 2022-03-11
