NXP Semiconductors PCF85263A Real-Time Clock (RTC) & Calendar
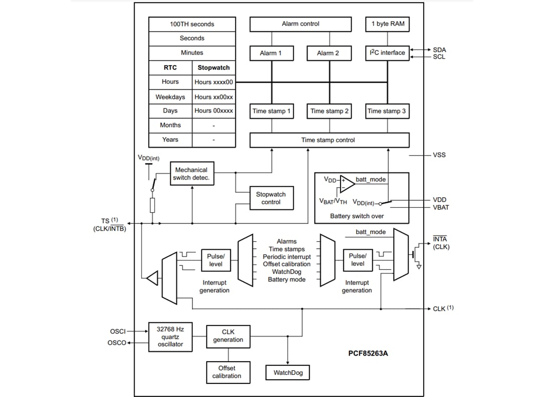
NXP Semiconductors PCF85263A Real-Time Clock (RTC) and Calendar is optimized for low power consumption with automatic switching to battery on main power loss. The PCF85263A can also be configured as a stop-watch (elapsed time counter). Three-time log registers triggered from battery switch-over as well as input-driven events. The PCF85263A features a clock output and two independent interrupt signals, two alarms, an I2C interface, and quartz crystal calibration.Features
- UL Recognized Component
- Provides year, month, day, weekday, hours, minutes, seconds and 100th seconds based on a 32.768kHz quartz crystal
- Stop-watch mode for elapsed time counting. From 100th seconds to 999999 hours
- Two independent alarms
- Battery back-up circuit
- WatchDog timer
- Three timestamp registers
- Two independent interrupt generators plus predefined interrupts at every second, minute, or hour
- Frequency adjustment via programmable offset register
- Clock operating voltage: 0.9V to 5.5V
- Low current; typical 0.28µA at VDD = 3.0V and Tamb = 25ºC
- 400kHz two-line I2C-bus interface (at VDD = 1.8V to 5.5V)
- Programmable clock output for peripheral devices (32.768kHz, 16.384kHz, 8.192kHz, 4.096kHz, 2.048kHz, 1.024kHz, and 1Hz)
- Configurable oscillator circuit for a wide variety of quartzes: CL = 6pF, CL = 7pF, and CL = 12.5pF
- DFN-10, TSSOP-8, and TSSOP-10 package options
Applications
- Printers and copiers
- Electronic metering
- Digital cameras
- White goods
- Elapsed time counter
- Network powered devices
- Battery backed up systems
- Data loggers
- Digital voice recorders
- Mobile equipment
- Accurate high duration timer
Typical Application Circuit
Block Diagram
Publicado: 2014-10-20
| Actualizado: 2024-01-04
