Renesas Electronics RRH46410 Digital Gas Sensor Modules

Renesas Electronics RRH46410 Digital Gas Sensor Modules feature an integrated microcontroller for seamless integration into various gas sensing applications. The Renesas Electronics RRH46410 is designed for indoor air quality measurement. The sensor module includes a MEMS gas sensing element, a CMOS signal conditioning IC, and a microcontroller. The MEMS structure contains a heater element and a metal oxide (MOx) chemiresistor, while the signal conditioner regulates temperature and measures MOx conductivity, reflecting gas concentration. The microcontroller provides a calibrated digital output, eliminating the need for additional processing on the MCU.

Features

  • Sensor output based on AI machine learning algorithmic
    • Absolute measurement of total organic compounds (TVOC) concentrations and indoor air quality (IAQ)
    • Estimated carbon dioxide level (eCO2)
    • Relative IAQ based on TVOC and odor changes
  • Ultra-low average power consumption < 0.2mW
  • Siloxane resistant
  • JEDEC JESD47 qualified for ten years of lifetime
  • 1.8V to 3.6V supply voltage
  • Programmable GPIO pins
  • Operating temperature -40°C to +65°C
  • IP67 rating
  • 4.5mm × 4.0mm × 0.950mm body, 0.50 pitch 20-LGA package
  • Supports I2C and UART

Applications

  • Monitor home, office, public building, personal, and bathroom environments for healthy conditions and comfort
  • Detect hazardous materials and unhealthy conditions (for example, fumes from construction materials)
  • Automation based on indoor ambient air quality (HVAC, air purifiers, thermostats, kitchen hoods, etc.)
  • Indoor air monitoring

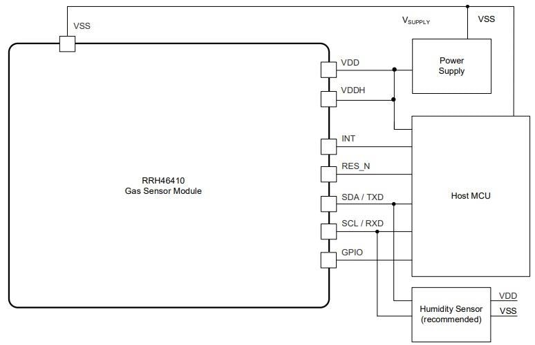
Typical Application

Application Circuit Diagram - Renesas Electronics RRH46410 Digital Gas Sensor Modules
Publicado: 2023-12-15 | Actualizado: 2024-04-22