TDK InvenSense IAM-20381HT 3-Axis Accelerometer

TDK InvenSense IAM-20381HT 3-Axis Accelerometer is a high-performance automotive Grade-2 accelerometer with a 4096-byte FIFO. This accelerometer uses a CMOS-MEMS fabrication platform to integrate MEMS wafers with companion CMOS electronics through wafer-level bonding. The IAM-20381HT accelerometer includes ±2g, ±4g, ±8g, and ±16g user-programmable range, programmable digital filters, an embedded temperature sensor, and on-chip 16-bit ADCs. This accelerometer is housed in a 3mm x 3mm x 0.75mm 16-pin LGA package. The IAM-20381HT accelerometer features I2C and SPI serial interfaces, 10,000g shock tolerant, and Wake-on-Motion (WoM) interrupt for low-power operation of applications processor. This accelerometer is used in car alarms, telematics, tilt measurement, lift gate motion detections, and drive-style recordings.

Features

  • 4096-byte FIFO buffer enables the application processor to read data in bursts
  • Digital-output temperature sensor
  • 10,000 shock tolerant
  • User-programmable digital filters for accelerometer and temperature sensor
  • Housed in a 3mm x 3mm x 0.75mm 16-pin LGA package
  • User-programmable full-scale range of ±2g, ±4g, ±8g, and ±16g
  • 1.71V to 3.7V VDD operating range
  • 400kHz fast mode I2C for communicating with all registers
  • 8MHz SPI serial interface for communicating with all registers
  • MEMS structure hermetically sealed and bonded at the wafer level

Applications

  • Car alarms
  • Telematics
  • Lift gate motion detections
  • Tilt measurements
  • Infotainment and navigation systems
  • View camera stabilization and vision systems
  • Head-up displays (HUD) and augmented reality (AR) HUDs
  • Insurance vehicle tracking
  • Drive-style recording

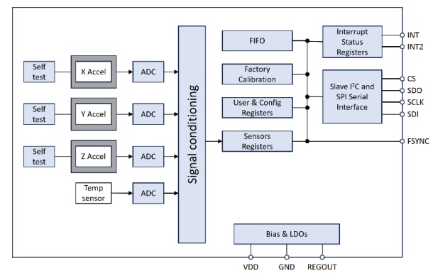
Block Diagram

Block Diagram - TDK InvenSense IAM-20381HT 3-Axis Accelerometer

Typical Operating Circuit Diagram

Application Circuit Diagram - TDK InvenSense IAM-20381HT 3-Axis Accelerometer
Publicado: 2024-04-08 | Actualizado: 2024-10-01