Texas Instruments AWR1642 77GHz to 79GHz Automotive mmWave Sensor

Texas Instruments AWR1642 77GHz to 79GHz Automotive mmWave Sensor is an integrated single-chip FMCW radar sensor built with Texas Instrument's low-power, 45nm RFCMOS process. The AWR1642 Sensor offers exceptional levels of integration, combining the RFCMOS process with an extremely small form factor. Self-monitored, ultra-accurate radar systems for automotive applications are the ideal solution for the AWR1642 Automotive mmWave Sensor.

An Arm R4F-based processor subsystem is included, which implements radio configuration, control, and calibration. Short, mid, and long sensor executions are possible through a simple programming model change, with the possibility of dynamic reconfiguration for providing a multimode sensor. The Texas Instruments AWR1642 Sensors include reference hardware design, software drivers, sample configurations, API guide, and user documentation, creating a complete platform solution.

Features

  • FMCW transceiver
    • Integrated PLL, transmitter, receiver, baseband, and A2D
    • 77GHz to 79GHz coverage with 4GHz available bandwidth
    • Four receive channels
    • Two transmit channels
    • Ultra-accurate chirp (timing) engine based on fractional-N PLL
    • TX power (12.5dBm)
    • RX noise figure
      • 14dB (76 to 77GHz)
      • 15dB (77 to 81GHz)
    • Phase noise at 1MHz
      • –95dBc/Hz (76 to 77GHz)
      • –93dBc/Hz (77 to 81GHz)
  • Built-in calibration and self-test (monitoring)
    • Arm® Cortex®-R4F-based radio control system
    • Built-in firmware (ROM)
    • Self-calibrating system across frequency and temperature
  • C674x DSP for FMCW signal processing
  • 1.5MB on-chip memory 
  • Cortex-R4F microcontroller for object tracking, classification, AUTOSAR, and interface control
    • Supports autonomous mode (loading user application from QSPI Flash memory)
  • Integrated peripherals
    • Internal memories with ECC
  • Host interface
    • CAN (two instances, with one being CAN-FD)
  • ASIL B targeted
  • AECQ100 qualified
  • AWR1642 advanced features
    • Embedded self-monitoring with no host processor involvement
    • Complex baseband architecture
    • Embedded interference detection capability
  • Power management
    • Built-in LDO network for enhanced PSRR
    • I/Os support dual voltage 3.3V/1.8V
  • Clock source
    • Supports external oscillator at 40MHz
    • Supports externally driven clock (square/sine) at 40MHz
    • Supports 40MHz crystal connection with load capacitors
  • Easy hardware design
    • 0.65mm pitch, 161-pin 10.4mm × 10.4mm Flip Chip BGA package for easy assembly and low-cost PCB design
    • Small solution size
  • Supports automotive temperature operating range
    • Other interfaces available to user application
    • Up to 6 ADC channels
    • Up to 2 SPI channels
    • Up to 2 UARTs
    • I2C
    • GPIOs
    • 2-lane LVDS interface for raw ADC data and debug instrumentation

Applications

  • Blind spot detection
  • Lane change assistance
  • Cross-traffic alert
  • Parking assistance
  • Occupancy detection
  • Simple gesture recognition
  • Car door opener applications

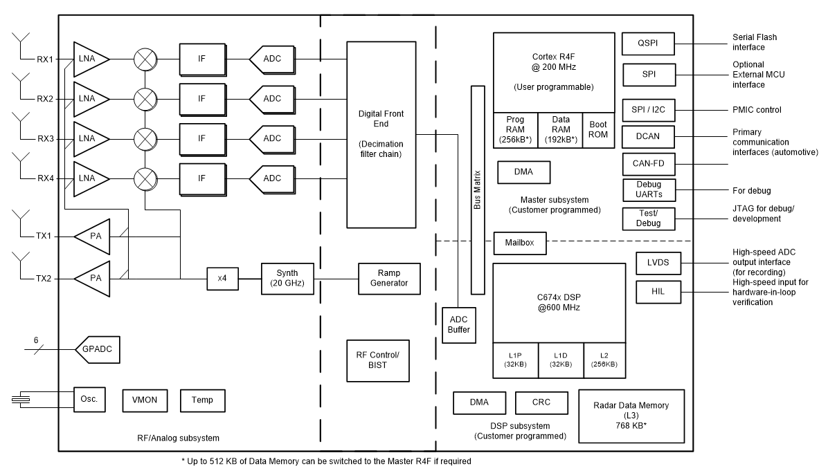
Block Diagram

Block Diagram - Texas Instruments AWR1642 77GHz to 79GHz Automotive mmWave Sensor
Publicado: 2018-05-31 | Actualizado: 2023-01-27