Texas Instruments DS90UB953A-Q1 FPD-Link III 4.16Gbps Serializers

Texas Instruments DS90UB953A-Q1 FPD-Link III 4.16Gbps Serializers is designed to support high-speed raw data sensors, including 2.3MP imagers at 60fps and as well as 4MP, 30fps cameras, satellite RADAR, LIDAR, and Time-of-Flight (ToF) sensors. The DS90UB953A-Q1 has a 40°C to 125°C wide temperature range, enabling a more compact/flexible sensor module design for any small camera application. The chip provides a 4.16Gbps forward channel and ultra-low latency, a 50Mbps bidirectional control channel, and supports power over a single coax (PoC) or STP cable.

The device supports ADAS and autonomous driving through advanced data protection and diagnostic features. The DS90UB953A-Q1, combined with a companion deserializer, delivers precise multi-camera sensor clock and synchronization. The Texas Instruments DS90UB953A-Q1 devices are AEC-Q100 qualified for automotive applications.

Features

  • AEC-Q100 (Grade 1) qualified for automotive applications
    • Device temperature: –40°C to +125°C ambient operating temperature
  • ISO 10605 and IEC 61000-4-2 ESD compliant
  • Power-over-Coax (PoC) compatible transceiver
  • 4.16Gbps grade serializer supports high-speed sensors, including full HD 1080p 2.3MP 60fps and 4MP 30fps imagers
  • D-PHY v1.2 and CSI-2 v1.3 compliant system interface
    • Up to 4 data lanes at 832Mbps per each lane
    • Supports up to four virtual channels
  • Precision multi-camera clocking and synchronization
  • Supports single-ended coaxial or shielded-twisted-pair (STP) cable
  • Flexible programmable output clock generator
  • Advanced data protection and diagnostics, including CRC data protection, sensor data integrity check, I2C write protection, voltage and temperature measurement, programmable alarm, and line fault detection
  • Ultra-low latency bidirectional I2C and GPIO control channel enables ISP control from ECU
  • Single 1.8V power supply
  • Low (0.25W typical) power consumption
  • Compatible with DS90UB954-Q1, DS90UB964-Q1, DS90UB962-Q1, DS90UB936-Q1, DS90UB960-Q1, DS90UB934-Q1, and DS90UB914A-Q1 deserializers

Applications

  • Advanced driver assistance systems (ADAS)
  • Surround-view system ECU
  • Front and rear cameras
  • Driver monitoring
  • Radar ECU
  • Mechanically scanning LIDAR
  • Time of flight (ToF) cameras
  • Analog security cameras
  • MRI, ultrasound, and X-ray systems
  • Specialized imaging systems

Typical Application

Application Circuit Diagram - Texas Instruments DS90UB953A-Q1 FPD-Link III 4.16Gbps Serializers

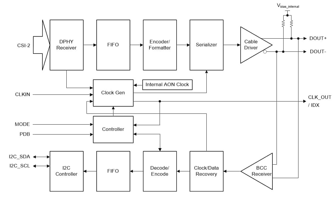
Block DIagram

Block Diagram - Texas Instruments DS90UB953A-Q1 FPD-Link III 4.16Gbps Serializers

Videos

Publicado: 2019-05-20 | Actualizado: 2025-03-06