Texas Instruments INA209 Power Monitor & High-Speed Comparator

Texas Instruments INA209 26V, Bi-Directional, Low-/High-Side, I2C Out Current/Power Monitor, and High-Speed Comparator monitors both shunt drop and shunt bus voltage. Direct readouts in amperes are enabled through the combined internal multiplier and programmable calibration value. Other features include onboard watchdog capabilities of a warning comparator and an over-limit comparator, with an additional multiplying register that calculates power in watts. The device also adds an analog comparator and a programmable digital-to-analog converter (DAC) that combine to provide the fastest possible responses to current overload conditions. The Texas Instruments INA209 can be combined with hot-swap controllers that already use a current sense resistor. The full-scale range on the INA209 can be selected to be either within the hot-swap controller sense limits or wide enough to include them. The device draws a maximum of 1.5mA of supply current while using a single +3V to +5.5V supply.

Features

  • Senses bus voltages from 0V to +26V
  • Reports current, voltage, and power; stores peaks
  • Triple watchdog limits (lower warning with delay)
  • Upper over-limit, no delay
  • Fast analog critical
  • 1% maximum over temperature with high accuracy

Applications

  • Servers
  • Telecom equipment
  • Automotive
  • Power management
  • Battery chargers
  • Welding equipment
  • Power supplies
  • Test equipment

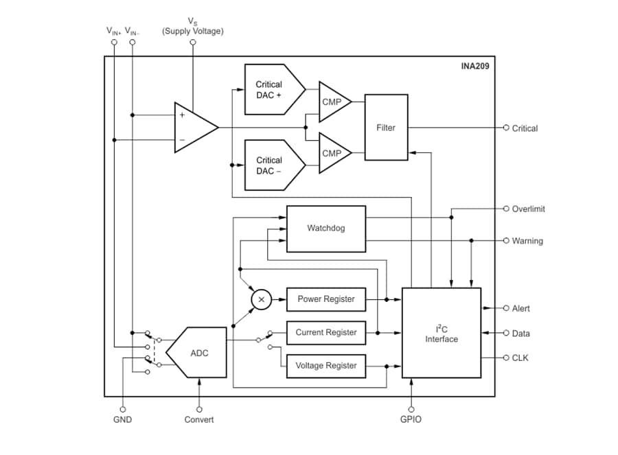
Block Diagram

Block Diagram - Texas Instruments INA209 Power Monitor & High-Speed Comparator
Publicado: 2008-02-26 | Actualizado: 2022-03-11