Texas Instruments MSP430FR263x / MSP430FR253x Ultra-Low-Power MCUs

Texas Instruments MSP430FR263x / MSP430FR253x Ultra-Low-Power Microcontrollers are FRAM-based ultra-low-power MSP microcontrollers that feature CapTIvate touch technology. These are designed for buttons, sliders, wheels (BSW), and proximity applications. CapTIvate technology provides the highest resolution capacitive-touch solution in the market with high reliability and noise immunity at the lowest power. CapTIvate technology supports concurrent self-capacitance and mutual-capacitance electrodes on the same design for maximum flexibility. Using the CapTIvate Design Center, engineers can quickly develop BSW applications with an easy-to-use GUI.

Features

  • Embedded microcontroller:
    • 16-Bit RISC architecture
    • Clock supports frequencies up to 16MHz
    • Wide supply voltage range from 1.8V to 3.6V (minimum supply voltage is restricted by SVS levels)
  • Optimized ultra-low-power modes:
    • Active mode: 126µA/MHz (Typical)
    • Standby
      • 1.7µA/Button Average (Typical) (16 self-capacitance buttons, 8Hz scanning)
      • 1.7µA/Button Average (Typical) (64 mutual-capacitance buttons, 8Hz scanning)
    • LPM3.5 Real-Time Clock (RTC) counter with 32768Hz crystal: 770nA (Typical)
    • Shutdown (LPM4.5): 15nA (Typical)
  • Low-Power Ferroelectric RAM (FRAM):
    • Up to 15.5KB of non-volatile memory
    • Built-In Error Correction Code (ECC)
    • Configurable write protection
    • Unified memory of program, constants, and storage
    • 1015 write cycle endurance
    • Radiation resistant and non-magnetic
    • High FRAM-to-SRAM ratio, up to 4:1
  • Intelligent Digital Peripherals:
    • Four 16-Bit Timers
      • Two Timers with Three Capture/Compare Registers each (Timer_A3)
      • Two Timers with Two Capture/Compare Registers each (Timer_A2)
    • One 16-Bit Timer associated with CapTIvate Technology
    • One 16-Bit counter-Only RTC
    • 16-Bit Cyclic Redundancy Check (CRC)
  • Enhanced serial communications:
    • Two enhanced universal serial communication interfaces (eUSCI_A) support UART, IrDA, and SPI
    • One eUSCI (eUSCI_B) supports SPI and I2C
  • High-performance analog:
    • 8-Channel 10-Bit Analog-to-Digital Converter (ADC)
      • Internal 1.5V reference
      • Sample-and-Hold 200ksps
    • CapTIvate Technology - Capacitive Touch
      • Performance:
        • Fast electrode scanning with four simultaneous scans
        • Support for high-resolution sliders with >1024 points
        • 30cm proximity sensing
    • Reliability:
      • Increased immunity to power-line, RF, and other environmental noise
      • Built-in spread spectrum, automatic tuning, noise filtering, and debouncing algorithms
      • Enables reliable touch solutions with 10V RMS common-mode noise, 4kV electrical fast transients, and 15kV electrostatic discharge, allowing for IEC-61000-4-6, IEC-61000-4-4, and IEC-61000-4-2 compliance
      • Reduced RF emissions to simplify electrical designs
      • Support for metal touch and water rejection designs
    • Flexibility:
      • Up to 16 self-capacitance and 64 mutual-capacitance electrodes
      • Mix and match self and mutual-capacitive electrodes in the same design
      • Supports multi-touch functionality
      • Wide range of capacitance detection, wide electrode range of 0 to 300pF
    • Low Power:
      • < 0.9µA/Button in wake-on-touch mode, where capacitive measurement and touch detection is done by hardware state machine while CPU is Asleep
      • Wake-on-Touch state machine allows electrode scanning while CPU is Asleep
      • Hardware acceleration for environmental compensation, filtering, and threshold detection
        • Ease of use:
          • CapTIvate design center, PC GUI lets engineers design and tune capacitive buttons in Real Time without having to write code
          • CapTIvate software library in ROM provides Ample FRAM for customer application
  • Clock System (CS):
    • On-Chip 32kHz RC Oscillator (REFO)
    • On-Chip 16MHz Digitally Controlled Oscillator (DCO) with Frequency-Locked Loop (FLL)
    • ±1% accuracy with On-Chip reference at room temperature
    • On-Chip very low-frequency 10kHz Oscillator (VLO)
    • On-Chip high-frequency Modulation Oscillator (MODOSC)
    • External 32kHz crystal Oscillator (LFXT)
    • Programmable MCLK Prescalar of 1 to 128
  • SMCLK derived from MCLK with programmable Prescalar of 1, 2, 4, or 8
  • General Input/Output and pin functionality:
    • Total of 19 I/Os on TSSOP-32 package
    • 16 interrupt pins (P1 and P2) can wake MCU from low-power modes
  • Development tools and software
    • Ease-of-Use ecosystem
    • CapTIvate design center - code generation, customizable GUI, real-time tuning
  • Free Professional Development Environments
  • 12KB ROM library includes CapTIvate touch libraries and driver libraries
  • Family members:
    • MSP430FR2633: 15KB of program FRAM + 512B of information FRAM + 4KB of RAM up to 16 self-capacitive and 64 mutual-capacitive sensors
    • MSP430FR2533: 15KB of program FRAM + 512B of information FRAM + 2KB of RAM up to 16 self-capacitive or 16 mutual-capacitive sensors
    • MSP430FR2632: 8KB of program FRAM + 512B of information FRAM + 2KB of RAM up to 8 self-capacitive or 16 mutual-capacitive sensors
    • MSP430FR2532: 8KB of program FRAM + 512B of information FRAM + 1KB of RAM up to 8 self-capacitive or 8 mutual-capacitive sensors

Applications

  • Thermostats
  • Electronic access control
  • Lighting control
  • Electronic door locks
  • White goods
  • Small appliances
  • Personal electronics

Videos

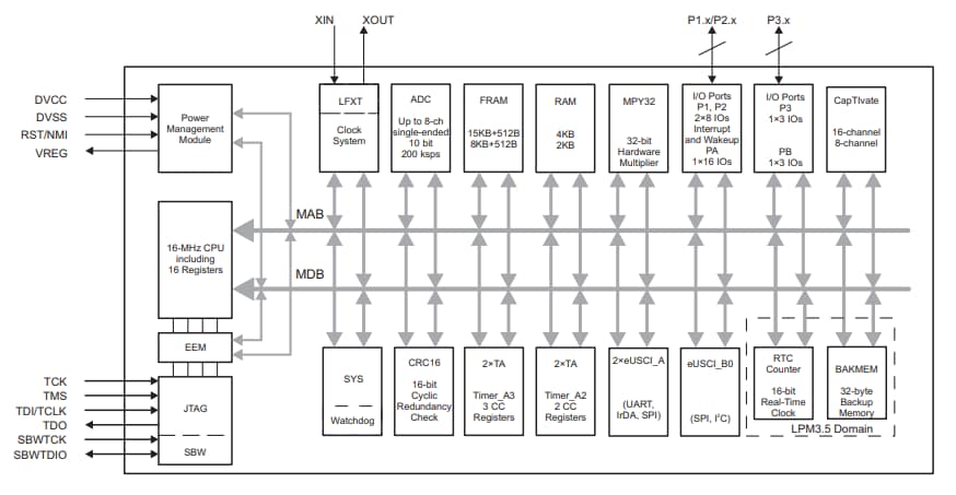
Functional Block Diagram

Block Diagram - Texas Instruments MSP430FR263x / MSP430FR253x Ultra-Low-Power MCUs
Publicado: 2016-02-17 | Actualizado: 2025-04-16